
MIL-DTL-62478C(AT)
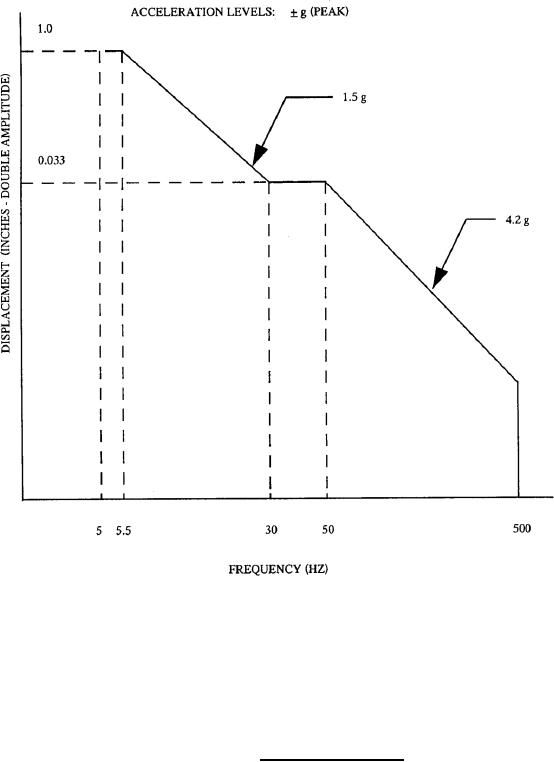
NOTE: All curves shall be extended to 2 Hz when item resonances below 5 Hz are
expected.
FIGURE 3. Vibration test curve.
18
For Parts Inquires call Parts Hangar, Inc (727) 493-0744
© Copyright 2015 Integrated Publishing, Inc.
A Service Disabled Veteran Owned Small Business